Your Katalog vario 110 karbu images are ready in this website. Katalog vario 110 karbu are a topic that is being searched for and liked by netizens now. You can Find and Download the Katalog vario 110 karbu files here. Get all free images.
If you’re looking for katalog vario 110 karbu images information related to the katalog vario 110 karbu topic, you have visit the right blog. Our website frequently gives you suggestions for viewing the maximum quality video and image content, please kindly search and find more informative video content and images that fit your interests.
Katalog Vario 110 Karbu. Honda New Vario 110. Footstep di bagian depan juga bisa. Suku cadangnya juga bisa anda beli disini. Telah Terjual Lebih Dari 521.
Switch Motor Honda Harga Terbaru Juni 2021 Blibli From blibli.com
Meskipun sudah ada Honda Vario 125 dan Honda Vario 150 yang lebih dulu direvisi tak lantas PT Astra Honda Motor AHM menghentikan produksi salah satu motor matic andalannya yaitu Honda Vario 110. Mohon maaf banget ya baru upload lagi karena ada aja kendalanya huhu tapi sekarang sudah bisa upload hihi. Honda Vario 150 Vector. Kalo mau disetting irit juga bisa pakai pilot. Jual Kunci Kontak Keyset Key Set Honda Vario Lama 110 CW Karburator KVB dengan harga Rp125000 dari toko online yaay auto part motor Jakarta Barat. Footstep di bagian depan juga bisa.
Footstep di bagian depan juga bisa.
Vario 150 Honda Click 150i Sticker Design. Pengiriman cepat Pembayaran 100 aman. Oli Honda Vario 125 Berapa Liter. Wiring Diagram Honda Vario 150 Esp. Cek price list sparepartonderdil motor asli orisinil dan KW 2019 di DAFTARdotco. MH1JFH1 MH1JFX1 MH1JFX11 MH1JFY1.
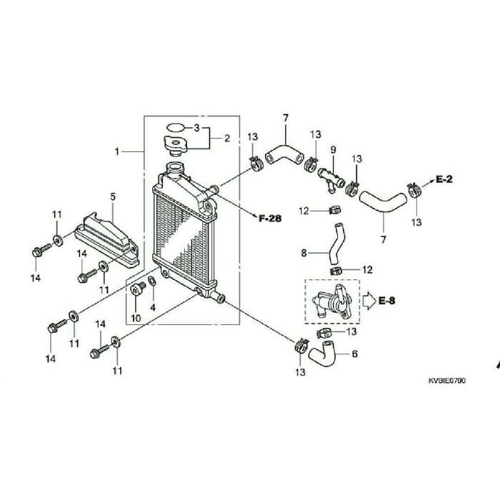
Source: scribd.com
Februari 2014 Sekarang. Ya sedikit lebih tinggi dari Vario 110 karbu 1445 juta OTR Jakarta. Supra X 125 Spacy Vario 110 Karbu. Honda Vario Techno 125 1. Lihat Online 23.
Source: oto.com
MH1JFH1 MH1JFX1 MH1JFX11 MH1JFY1. Memang boleh dibilang Penyegaran Striping baru Vario 110 ini disinyalir merupakan asa terakhir atau nafas terakhir sang vario 110 Karbu sebelum di suksesi oleh kehadiran Vario 110 FI nanti. Honda Vario Techno 125 1. Harga Honda Vario 110 eSP dan Spesifikasi Keluarga sepeda motor matic Honda bertambah satu anggota baru. CDI BRT Powermax Dualband VARIO 110 KARBU Tune Up Racing TR.
Source: shopee.co.id
Pengiriman cepat Pembayaran 100 aman. Footstep di bagian depan juga bisa. Supra X 125 Spacy Vario 110 Karbu. Jual beli online aman dan nyaman hanya di Tokopedia. Honda New Vario 110.
Source: anyflip.com
Honda Vario 110 FI. Katalog harga Body Vario 110 Karbu terbaru di atas merupakan harga sementara dan sewaktu waktu bisa berubah. Cari produk Karburator Motor lainnya di Tokopedia. Meski saat ini bisa dikatakan sudah berumur tapi performa motor ini masih sama seperti dulu ya meski terkadang sedikit suka ngadat tapi tidak terlalu parah hanya butuh perawatan rutin setiap bulannya si biru yang montok ini masih Baca Selengkapnya. Jakarta Barat JN autopart.
Source: hondacengkareng.com
Belanja Sekarang Juga Hanya di Bukalapak. Modifikasi Vario 110 ini juga memiliki kemiripan dengan gaya Babylook. Untuk mendapatkan informasi lebih lanjut tentang Body Vario 110 Karbu terbaik yang berkualitas dan juga diskon yang ditawarkan atau gambar Body Vario 110 Karbu lebih banyak silahkan mengunjungi website sumber. Mungkin nambah 250 ribu jadi 147 Juta. Telah Terjual Lebih Dari 521.
Source: blibli.com
49 Harga Cdi Vario 110 Karbu Murah Terbaru 2020 Katalog Or Id Parts Catalog Honda For Android Free Download And Software Part Calatogue New Vario All Pdf Document Speed60 Instagram Posts Photos And Videos Picuki Com Katalog Motor Honda Harga Sparepart Honda Resmi Original Terbaru Dan Terlengkap 2020. 49 Harga Cdi Vario 110 Karbu Murah Terbaru 2020 Katalog Or Id Parts Catalog Honda For Android Free Download And Software Part Calatogue New Vario All Pdf Document Speed60 Instagram Posts Photos And Videos Picuki Com Katalog Motor Honda Harga Sparepart Honda Resmi Original Terbaru Dan Terlengkap 2020. Warna Kabel Honda Vario 125 Led. Jakarta Timur Toko EKOSISTEM. Adapun ukuran secara dimensi dari bearing kruk as Honda Vario 110 karbu adalah.
Source: hondacengkareng.com
Honda Vario 110 yang saya gunakan ini sudah setia menemani sejak tahun 2010. Telah Terjual Lebih Dari 521. Meskipun sudah ada Honda Vario 125 dan Honda Vario 150 yang lebih dulu direvisi tak lantas PT Astra Honda Motor AHM menghentikan produksi salah satu motor matic andalannya yaitu Honda Vario 110. Jika tidak menyeluruh dan termasuk bagian bodi warna terang tersebut dapat diaplikasikan pada velg jari-jari dan komponen lain. Patokannya adalah bearing besar dan bearing kecil.
Source: id.scribd.com
Cari produk Karburator Motor lainnya di Tokopedia. Jakarta Barat JN autopart. Honda Vario Techno 125 2. Pinion Assy Starter BeAT FI Vario 110 Karbu Vario 110 eSP Spacy Spacy FI Pemesanan dapat langsung menghubungi kontak di bawah ini. Beli super roller brt vario 110 karbu beat scoopy spacy vario 110 fi.
Source: hondacengkareng.com
Modifikasi dengan gaya karbu memang disiapkan untuk kontes. Jika tidak menyeluruh dan termasuk bagian bodi warna terang tersebut dapat diaplikasikan pada velg jari-jari dan komponen lain. CDI BRT Powermax Dualband VARIO 110 KARBU Tune Up Racing TR. Wiring Diagram Honda Vario 150 Esp. JFH1E0000001 JFX1E0000001 JFX1E1326601 JFY1E1097801.
Source: hondacengkareng.com
Honda New Vario 110. Telah Terjual Lebih Dari 521. Vario 110 Karbu. Adapun ukuran secara dimensi dari bearing kruk as Honda Vario 110 karbu adalah. MH1JFH1 MH1JFX1 MH1JFX11 MH1JFY1.
Source: hondacengkareng.com
Pinion Assy Starter BeAT FI Vario 110 Karbu Vario 110 eSP Spacy Spacy FI Pemesanan dapat langsung menghubungi kontak di bawah ini. Lihat Online 23. Penggunaan warna terang dipilih. Anda sedang mencari katalog suku cadang Honda New Vario 110. 06535GN5505 Rp 95000 Beli Beli.
Source: hondavario50.blogspot.com
Vario 110 CW 2006 - 2014 Spark Plug berfungsi untuk membakar campuran bahan bakar dan udara yang masuk ke dalam ruang pembakaran Ignition lalu menghantarkan energi panas tersebut keluar dari ruang pembakaran Transfer. Jakarta Timur Toko EKOSISTEM. Telah Terjual Lebih Dari 521. Cari produk Karburator Motor lainnya di Tokopedia. Mohon maaf banget ya baru upload lagi karena ada aja kendalanya huhu tapi sekarang sudah bisa upload hihi.
Source: blibli.com
Kalo mau disetting irit juga bisa pakai pilot. Kalo mau disetting irit juga bisa pakai pilot. Telah Terjual Lebih Dari 521. Footstep di bagian depan juga bisa. Harga Honda Vario 110 eSP dan Spesifikasi Keluarga sepeda motor matic Honda bertambah satu anggota baru.
Source: hondacengkareng.com
Sekedar tips bagi yang sedang mencari suku cadang Honda Vario generasi pertama ini di online store agar tidak bingung membedakan dengan onderdil untuk type lainnya misalnya seperti Vario Techno 125 maka akan lebih mudah jika menggunakan kata kunci Vario 110 Oldlama atau juga sering disebut Vario 110 Karbu kerena masih memakai karburator. Ya sedikit lebih tinggi dari Vario 110 karbu 1445 juta OTR Jakarta. Lihat Online 23. Oli Honda Vario 125 Berapa Liter. 49 Harga Cdi Vario 110 Karbu Murah Terbaru 2020 Katalog Or Id Parts Catalog Honda For Android Free Download And Software Part Calatogue New Vario All Pdf Document Speed60 Instagram Posts Photos And Videos Picuki Com Katalog Motor Honda Harga Sparepart Honda Resmi Original Terbaru Dan Terlengkap 2020.
Source: blibli.com
Supra X 125 Spacy Vario 110 Karbu. 06535GN5505 Rp 95000 Beli Beli. Honda Vario Techno 125 1. Katalog Honda Vario 110 Karbu. Honda Vario 110 FI.
Source: id.pinterest.com
Katalog harga Body Vario 110 Karbu terbaru di atas merupakan harga sementara dan sewaktu waktu bisa berubah. Katalog Honda Vario 110 Karbu. Anda sedang mencari katalog suku cadang Honda New Vario 110. CDI Vario 110 Karbu 2007-2014 KVB KD74. Telah Terjual Lebih Dari 521.
Source: hondacengkareng.com
CDI ASSY HONDA VARIO 110 KARBUVARIO 110 TECNO KARBUKODE KVB ORI-HGP. Februari 2014 Sekarang. Footstep di bagian depan juga bisa. Katalog harga Body Vario 110 Karbu terbaru di atas merupakan harga sementara dan sewaktu waktu bisa berubah. Harga Honda Vario 110 eSP dan Spesifikasi Keluarga sepeda motor matic Honda bertambah satu anggota baru.
Source: bukalapak.com
Pinion Assy Starter BeAT FI Vario 110 Karbu Vario 110 eSP Spacy Spacy FI Pemesanan dapat langsung menghubungi kontak di bawah ini. Supra X 125 Spacy Vario 110 Karbu. Ya sedikit lebih tinggi dari Vario 110 karbu 1445 juta OTR Jakarta. CDI ASSY HONDA VARIO 110 KARBUVARIO 110 TECNO KARBUKODE KVB ORI-HGP. Jika tidak menyeluruh dan termasuk bagian bodi warna terang tersebut dapat diaplikasikan pada velg jari-jari dan komponen lain.
This site is an open community for users to do sharing their favorite wallpapers on the internet, all images or pictures in this website are for personal wallpaper use only, it is stricly prohibited to use this wallpaper for commercial purposes, if you are the author and find this image is shared without your permission, please kindly raise a DMCA report to Us.
If you find this site serviceableness, please support us by sharing this posts to your own social media accounts like Facebook, Instagram and so on or you can also save this blog page with the title katalog vario 110 karbu by using Ctrl + D for devices a laptop with a Windows operating system or Command + D for laptops with an Apple operating system. If you use a smartphone, you can also use the drawer menu of the browser you are using. Whether it’s a Windows, Mac, iOS or Android operating system, you will still be able to bookmark this website.


